Prihlásenie
Užívateľské meno / e-mail
Heslo
Registrácia
Napísať recenziu na môj voz  +Vložiť inzerát

Pro koho je to dobré? Patent Fordu na vyhřívané pásy ocení zřejmě jen nudisté

Naša téma
Radek Pecák | 11.12.2018
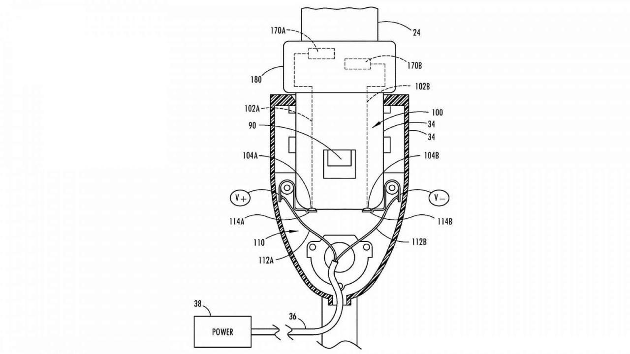
Patentové obrázky vyhřívaných bezpečnostních pásů | foto: Ford
Občas si automobilky nechávají patentovat docela pozoruhodné záležitosti. Ale třeba se to v produkčních vozech jednou objeví...  
Už jsem se setkal s řadou výmluv, proč si ten který člověk nezapíná bezpečnostní pás. Ale ještě nikdy jsem neslyšel, že by tak jednal kvůli tomu, že ho tento kus textilu studí. Možná je to ale proto, že jsem se vždy ptal oblečených lidí.

U Fordu si řekli, že nějací lidé by mohli ocenit, že je tato součást bezpečnostní výbavy bude během jízdy hřát na břiše a na hrudi. Dotáhli proto do konce nápad na technické řešení vyhřívaných pásů.

Celá dokumentace k patentu podanému v USA má 31 stránek, proto je těžké to popsat podrobně. Ovšem zjednodušeně lze říci, že pás je protkán odporovými drátky, které se začnou zahřívat, jakmile se spona propojí se zámkem.

Ford dokonce navrhuje několik možných pásů a spon. Zda se to nakonec dostane do sériové výroby je přinejmenším sporné. Teplotní komfort je sice pro mnohé velmi důležitý, ale myslím si, že docela postačuje kombinace klasického horkovzdušného topení s vyhříváním sedaček a případně i volantu.
Hodnotenie článku
1.0 z 5 (20%)
Hodnocené: 48540x
Ještě jste nehodnotil/a
Tagy
Diskusia
u článku nie je zatiaľ žiadna diskusia
vložiť príspevok do tejto diskusie
Nejčtenější články předchozích 7 dnů